
Overview
SmithCo’s SX2 Tandem Axle side dump trailer is one of our most popular and versatile models. The SX2-4034 is the most commonly produced size for tandem axle units, and with a 204″ wheelbase tractor it can achieve 80,000 legal gross in all states under the Federal Bridge Formula.
Shorter tandem axles trailers are produced to handle maneuvering issues, or combined with converter dollies for doubles operations. Common models for these shorter tandem axle trailers are the SX2-3024 and SX2-3327.
Features
- 30’ to 42’ foot frame lengths
- Stockpile or windrow
- Watertight; no leaks
- Low load height
- Dumps toward either side
- AR450 Steel Tub, One Piece Floor
- 80/100 KSI Steel Frames
- Self-Aligning, Spherical Bearing Hinges
- External Column Tub Supports
- No Center Tub Divider
- Shot Blast Paint Prep
- Polyurethane Paint
Specifications
SX Series Tub Capacities
Waterfull | Heaped | |
---|---|---|
34’ tub | 23 cu yd | 31 cu yd |
36’ tub | 24 cu yd | 32 cu yd |
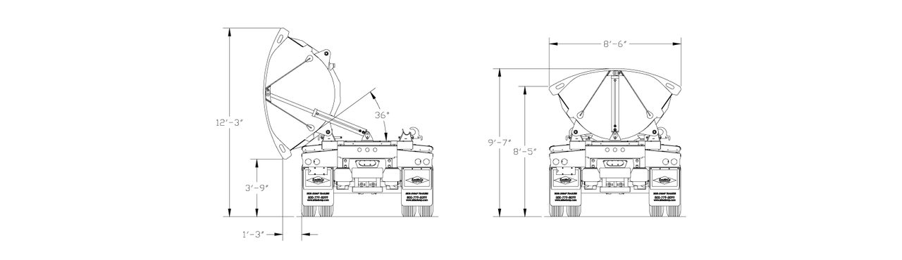
Model SX2-4034 SmithCo Side Dump Trailer
Specs shown are for 39’ 5” frame length; other configurations available.
Frame Length | 39’ 5” |
Tub Length | 34’ |
Width | 8’ 6” |
Height | 8' 3" at Tub side, 9' 6" at Center |
Tub Construction | 1/4” Thick, AR450 Steel (or equivalent) 3/16” Thick, AR450 Steel (or equivalent) is optional External column supports, no center tub divider |
Frame Construction | 80/100 KSI, Fabricated Steel I-beam |
Kingpin | 2" Kingpin, 18" Setting, Replaceable Type |
Landing Gear | Two Speed, Non-Load Bearing |
Bumper | Push Bar Type, Bolt-On |
Cylinders | 3500 PSI, 5" bore |
Hinges | Self-Aligning, Spherical Bearing Type (greaseable) |
Suspension | Air Ride; Four Spring & others optional |
Axles | (2) 25,000# capacity |
Hubs | 10 Hole, Hub Piloted |
ABS | 2S1M Anti-Lock Brake System |
Drums | Outboard Mount, Cast Steel |
Wheels | Steel Disc, 8.25 x 22.5 (8) |
Tires | 11R 22.5 G Radial Tires (8) |
Brakes | 16 1/2" x 7" |
Fenders | Front & Rear, 1/4" Synthetic, 7 Degree Slope |
Lights | 12 Volt ICC w/ Sealed Harness |
Mud Flap | (2) Polyline Anti-Spray Splash Guard w/SmithCo name |
Paint | Polyurethane, any combination of gray, white or black Special colors available upon request |
Min. Tractor Hydraulic Reqs. | 25-30 GPM 2,600-2,800 PSI 10 Gallon Reservoir |